
首先可以看到专利图中E01的轮廓大致与概念车时期的外型相同,但细节处其实还是可以看到向市售化妥协的部分,例如前土除的造型、骑士座位下方的鳍片设计,综观全车,更能发现许多概念车上漂亮的“弧线”消失,取而代之的是较为刚硬锐利的线条。

画面转到侧边,可以看到龙骨处与坐垫部份的设计,更是直接大幅修改成符合一般使用需求的样貌,例如将龙骨与坐垫间做出段差,坐垫的前后座高度差异也更明显,后座下方的壳件也设计了凹陷,提供类似后扶手的功能等,但是正如前面所说,在新专利图中的E01确实大量保留了概念车的轮廓,相当有科技感。

看完外观部分接着看到车辆架构,E01在三角台方面采用单三角台形式,悬吊则是使用正叉,车架造型方面则为了安装电池而与传统速克达有巨大差异,形式上比较近似大型速克达,而电池安装的位置则比起骑士座位略为靠前且较低,应是考虑到重心分配而设,马达位置则在骑士座位正下方,并采用皮带或炼条等传动形式连接后轮。
从正面看过去可以发现E01的车宽比起一般的速克达来说宽上不少,但这张图的重点在于图标上的“30”,对照上图的图标“30”可以发现,专利图中“30”的位置就是充电插座,这点与概念车相同,但是车头中间装设了启闭机构,就很难再于车头处安装灯具。

在其他专利文件中有提及图标“54”为发光面,与概念车展示的车头U字形灯条相符,但根据目前雅马哈的灯具设计来看,位于车头下方这对造型类似于YZF-R1的灯具可能才是真正的大灯,不过目前翻遍雅马哈的专利书面资料,还没有证据可以证实这点,待实车面市再来验证吧!

为了要能挂载这么大一颗电池,车架采用类似双摇篮式的架构,在车架的上部、下部都使用了两条钢管,从结构上来看确实是为了尽可能提高承重能力的设计,而车架上部为了让出腿部的空间,从头管两侧开始向后发展,在前段向中央收拢后才分开向后延伸,而车身中段也设有横向的结构提高车架抗扭转的性能。

参照概念车的尺寸来看,E01搭载的电池本体真的相当硕大,不过实际长、宽、高以及重量等资讯一概未知。

将电系安装上车后可以看到由前到后分别为电池、马达控制器、马达本体,三者排列非常紧凑,而从构造上来看,雅马哈乎没有为E01的马达设计冷却系统。

在之前的报导中也提过,雅马哈在打造E01时,动力方面的定位就是125c.c.的输出,但问题是所谓“125c.c.的动力表现”其实非常模糊,到底是超快、超强的125c.c.,还是输出很温柔舒适的125c.c.,雅马哈并没有说明,而且以风冷马达来说,E01的马达也太过平整,究竟E01的冷却形式会是风冷或水冷,就等待后续消息陆续揭露,但是这台车上确实有个东西是风冷的。

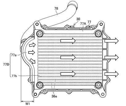
位于电池组与马达中间的零件就是马达的控制器,也是E01车上唯一确定为“风冷”的部分,控制器部分设有壳件包覆住,且有设计风道提供空气流动避免马达控制器过热,不过一般会认为,这颗控制器放的位子这么狭小,几乎不可能靠自然撞风降温,如果坚持要以风冷的形式来降温,应该要安装风扇来强制风冷才对。

不过雅马哈的做法相当简单直白,在E01马达控制器的散热方案采用了“自然进气”的方式,在前三角台下方设计了一个导气开口,通过一条专用的管路将车辆行进间撞击到的冷空气,新鲜直送到马达控制器的散热器上,达成冷却的效果,而雅马哈也在专利书中提到,如此设计是因为可以避免让车辆宽度变得更宽。

雅马哈最近的动作相当迅速
不论海内外,雅马哈这几年的动作都非常迅速,不论是新车发表或者专利应用,几乎都是“消息曝光”没多久就“正式登场”,以本人有写到的新闻作例,例如前年的Tricity300、今年的R7等等,从曝光到发表之间的间隔都相当短暂,所以E01的发布看来也是指日可待。
































